THIẾT KẾ ĐỒ GÁ KHOAN, KHOÉT GIA CÔNG NẮP HỘP GIẢM TỐC

Mã đồ án CKMDG2025041
Đánh giá: 5.0
Mô tả đồ án

     Bài tập lớn có dung lượng 75MB. Bao gồm đầy đủ các file như: File bản vẽ cad 2D (Bản vẽ lắp đồ gá khoan-khoét, bản vẽ phân rã đồ gá khoan-khoét…); file word (Bản thuyết minh, nhiệm vụ đề tài, bìa thuyết minh…). Ngoài ra còn cung cấp rất nhiều các tài liệu chuyên ngành, các tài liệu phục vụ cho thiết kế bài tập lớn, thư viện dao gia công và chi tiết đồ gá tiêu chuẩn........... THIẾT KẾ ĐỒ GÁ KHOAN, KHOÉT GIA CÔNG NẮP HỘP GIẢM TỐC.

Giá: 390,000 VND
Nội dung tóm tắt

MỤC LỤC

MỤC LỤC…………………………………………………………......................................................……..............……i

LỜI NÓI ĐẦU...........................................................................................................................................................1

PHẦN I: PHÂN TÍCH YÊU CẦU KỸ THUẬT CỦA NGUYÊN CÔNG VÀ TRÌNH TỰ THIẾT KẾ ĐỒ GÁ............... 2

1.1. Phân tích yêu cầu kỹ thuật của nguyên công....................................................................................................2

1.2. Trình tự thiết kế đồ gá.......................................................................................................................................2

PHẦN II. PHÂN TÍCH SƠ ĐỒ GÁ ĐẶT NGUYÊN CÔNG.......................................................................................4

2.1. Phương án I......................................................................................................................................................4

2.2. Phương án II.....................................................................................................................................................5

PHẦN III. TÍNH TOÁN THIẾT KẾ VÀ LỰA CHỌN CÁC CƠ CẤU CỦA ĐỒ GÁ ...................................................8

3.1. Lựa chọn cơ cấu định vị....................................................................................................................................8

3.2. Tính toán và lựa chọn cơ cấu kẹp chặt...........................................................................................................10

3.2.1. Sơ đồ phân tích lực......................................................................................................................................10

3.2.2. Tính lực kẹp..................................................................................................................................................11

3.2.3. Lựa chọn và xác định cơ cấu kẹp.................................................................................................................13

3.3. Xác định các cơ cấu khác của đồ gá...............................................................................................................15

PHẦN IV. TÍNH TOÁN SAI SỐ CHẾ TẠO CHO PHÉP VÀ ĐỀ RA CÁC YÊU CẦU KỸ THUẬT CỦA ĐỒ GÁ......18

4.1. Tính sai số chế tạo cho phép...........................................................................................................................18

4.2. Yêu cầu kỹ thuật của đồ gá..............................................................................................................................19

DANH MỤC TÀI LIỆU THAM KHẢO......................................................................................................................20

LỜI NÓI ĐẦU

Trong những năm gần đây, chúng ta đã chứng kiến sự phát triển mạnh mẽ của các ngành công nghiệp mới nói chung và ngành Cơ khí nói riêng. Là một ngành đã ra đời từ lâu với nhiệm vụ là thiết kế và chế tạo máy móc phục vụ cho các ngành công nghiệp khác. Do vậy đòi hỏi kỹ sư và cán bộ ngành Cơ khí phải tích lũy đầy đủ & vững chắc những kiến thức cơ bản nhất của ngành, đồng thời không ngừng trau dồi và nâng cao vốn kiến thức đó để giải quyết những vấn đề cụ thể thường gặp trong quá trình sản xuất thực tiễn.

Nhằm cụ thể hóa những kiến thức đã học thì môn học Đồ gá nhằm mục đích đó. Trong quá trình thiết kế đồ gá môn học sinh viên được làm quen với cách sử dụng tài liệu, sổ tay công nghệ, tiêu chuẩn và có khả năng kết hợp, so sánh những kiến thức lý thuyết với thực tế sản xuất. Mặt khác khi thiết kế đồ án, sinh viên có dịp phát huy tối đa tính độc lập sáng tạo, những ý tưởng mới lạ để giải quyết một vấn đề công nghệ cụ thể. Do tính quan trọng của Đồ án mà môn bắt buộc đối với sinh viên chuyên ngành Cơ khí và một số ngành có liên quan.

Qua một thời gian tìm hiểu với sự hướng dẫn chỉ bảo tận tình của Thầy: TS…………….., em đã hoàn thành Bài tập lớn Đồ gá được giao. Với kiến thức được trang bị và quá trình tìm hiểu các tài liệu có liên quan và cả trong thực tế. Tuy nhiên, sẽ không tránh khỏi những sai sót ngoài ý muốn do thiếu kinh nghiệm thực tế trong thiết kế. Do vậy, em rất mong được sự chỉ bảo của các thầy cô giáo trong Bộ môn và sự đóng góp ý kiến của bạn bè để hoàn thiện hơn đồ án của mình. Em xin chân thành cảm ơn sự hướng dẫn tận tình của thầy : TS…………….. người đã tận tình hướng dẫn em trong quá trình thiết kế và hoàn thiện bài tập lớn này.

Em xin chân thành cảm ơn!

                                                                                                                                                          Hà Nội, ngày … tháng … năm 20…

                                                                                                                                                         Sinh viên thực hiện

                                                                                                                                                        ………………….

PHẦN I: PHÂN TÍCH YÊU CẦU KỸ THUẬT CỦA NGUYÊN CÔNG VÀ TRÌNH TỰ THIẾT KẾ ĐỒ GÁ

1.1. Phân tích yêu cầu kỹ thuật của nguyên công

- Đảm bảo dung sai khoảng cách lỗ ∅52±0,03 mm

- Độ nhám bề mặt lỗ R_a=0,63 μm (Cấp độ nhám 8-Tinh)

- Độ nhám bề mặt R_z=20 μm (Cấp độ nhám 5-Bán tinh)

- Gia công 8 lỗ ∅20 phân bố đều trên đường tròn

1.2. Trình tự thiết kế đồ gá

- Bước 1: Nghiên cứu sơ đồ gá đặt phôi và các yêu cầu kĩ thuật của nguyên công, xác định bề mặt chuẩn, chất lượng bề mặt cần gia công, độ chính xác về kích thước hình dáng, số lượng chi tiết gia công và vị trí các cơ cấu định vị và kẹp chặt trên đồ gá.

- Bước 2: Xác định lực cắt, momen cắt, phương chiều điểm đặt của lực kẹp, và các lực cùng tác động vào chi tiết trong quá trình gia công. Xác định các lực nguy hiểm mà lực cắt hoặc momen cắt gây ra. Sau đó viết phương trình cân bằng về lực để xác định giá trị lực kẹp cần thiết.

- Bước 5: Xác định sai số chế tạo cho phép của đồ gá theo yêu cầu kỹ thuật của từng nguyên công.

- Bước 6: Ghi kích thước giới hạn của đồ gá (chiều dài, rộng, cao,...). Đánh số các vị trí của chi tiết trên đồ gá.

PHẦN II. PHÂN TÍCH SƠ ĐỒ GÁ ĐẶT NGUYÊN CÔNG

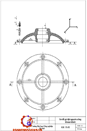
2.1. Phương án I

* Sơ đồ gá đặt:

Sơ đồ gá đặt theo phương án I thể hiện như hình 2.1.

* Phân tích định vị:

- Theo định vị ở trên thì chi tiết sẽ hạn chế tối đa 6 bậc tự do:

+ Sử dụng phiến tỳ vào mặt đầu nắp quan sát hạn chế 3 bậc tự do:

- Chống xoay theo Ox

- Chống xoay theo Oy

- Chống tịnh tiến theo Oy

+ Chốt chống xoay định vị 1 bậc tự do (sau khi khoan 1 lỗ, ta dùng chốt chống xoay để định vị): Quay quanh phương OZ

* Phân tích kẹp chặt:

+ Để đảm bảo độ cứng vững của chi tiết ta lựa chọn lực kẹo như sau:

- Phương của lực kẹp hướng theo trục Oz

- Chiều của lực kẹp hướng vào mặt đầu nắp quan sát

2.2. Phương án II

* Sơ đồ gá đặt:

Sơ đồ gá đặt theo phương án II thể hiện như hình 2.2.

* Phân tích định vị:

- Theo định vị trên thì chi tiết sẽ hạn chế tối đa 6 bậc tự do:

+ Sử dụng phiến tỳ vào mặt đầu nắp quan sát hạn chế 3 bậc tự do:

- Chống tịnh tiến theo Oz

- Chống xoay theo Ox

+ Sử dụng khối V ngắn di động vào mặt ngoài đối diện với khối V ngắn ban đầu hạn chế 1 bậc tự do:

- Chống xoay theo Oz

* Phân tích kẹp chặt:

+ Để đảm bảo độ cứng vững của chi tiết ta lựa chọn lực kẹp như sau:

- Phương của lực kẹp hướng theo trục Ox

- Chiều của lực kẹp hướng vào bề mặt gia công nắp

- Điểm đặt trùng với tâm khối V di động

Kết luận: Chọn phương án gá đặt chi tiết là phương án gia công số 1 bởi vì thiết kế đồ gá đơn giản. Đồ gá dễ tháo lắp và gá đặt.Chi tiết không bị nén và biến dạng bởi lực kẹp.

PHẦN III. TÍNH TOÁN THIẾT KẾ VÀ LỰA CHỌN CÁC CƠ CẤU CỦA ĐỒ GÁ

3.1. Lựa chọn cơ cấu định vị

* Chọn máy:

- Căn cứ vào hình dạng và kích thước chi tiết, ta chọn máy: 2H55 [3]

- Một số thông số cơ bản của máy như bảng 3.1.

* Chọn dao:

- Chọn dao: Dao khoan thép gió HSS [1]

- Một số đặc tính của Magbroach HSS 12x50.

* Chọn chế độ cắt:

Chọn chế độ cắt khi khoan [2]

Chiều sâu cắt t (mm):

+ Khoan lỗ đạt kích thước 11: t=D/2=11/2=5,5 (mm)

+ Tra bảng 5-25[2] ta xác định được lượng chạy dao: S=0,15 (mm/vg) Gia công trên máy 2H55 có hiệu suất: η=0,8

Tốc độ cắt khi khoan: 

Thay các trị số vừa xác định vào công thức tính tốc độ khoan ta có: V = 35,45 (m/ph)

Tốc độ quay của trục chính là:

n = (1000.V)/(π.D)=1000.35,45/(π.14)=806 (vg/ph)

Ta chọn tốc độ quay của trục chính khi gia công là: ngc=880 (vg/ph)

Vận tốc cắt ứng với tốc độ quay của trục chính khi gia công là:

V=(π.n.D)/1000=(π.880.14)/1000=38 (m/ph)

3.2. Tính toán và lựa chọn cơ cấu kẹp chặt

3.2.1. Sơ đồ phân tích lực

* Sơ đồ kẹp chặt:

Trong quá trình gia công xuất hiện các lực và momen như sau:

- Lực cắt dọc trục

- Momen cắt

- Lực kẹp tác dụng lên chi tiết W

- Phản lực  xuất hiện tại cơ cấu kẹp vào chi tiết

- Phản lực  xuất hiện tại vị trí chi tiết tác dụng vào phiến tỳ

+ Tính lực và momen cắt

Momen cắt:

Vậy Mx=10.0,85.140,2.70,75.0,150,8.1=13,59 (N.m)

Lực chiều cắt:

P0 =10.23,5.71,2.140,2.0,150,4.1=1926,85 (N)

3.2.2. Tính lực kẹp

* Trường hợp 1: Chi tiết quay quanh tâm

Lúc này lực kẹp sinh ra chủ yếu để thắng thành phần lực cắt P0

Ta có:

25.Fms1+ 25.Fms2=Mx

↔25.f.N1+25.f.N2=13,59

=>N1+N2=13,59/25.0,2=2,718 (N)

Thay N1+N2=2,718 (N)  vào phương trình ở trên ta có:

W=-P0+(N1+N2 )=-1926,85+2,718=-1924,132 (N)  (Loại do W>0)

* Trường hợp 2: Chi tiết lật tại điểm B

Phương trình lật tại điểm B của chi tiết:

Ta có:

25.Fms1+25.Fms2=Mx

=> 25.f.N1+25.f.N2=13,59

N1+N2=13,59/25.0,2=2,718 (N)

Thay N1+N2=2,718 (N) vào phương trình [1] ta được: W=(11.1926,85+40.2,718)/51=417,7 (N)

Lực kẹp cần thiết:

Wct = W.k

Ở đây hệ số k là hệ số an toàn gồm:

k=k1.k2.k3.k4.k5.k6

=> k=1,5.1.1,2.1,3.1,3.1.1=3,042

Lực kẹp cần thiết: Wct=417,7.3,042=1270,64 (N)

3.2.3. Lựa chọn và xác định cơ cấu kẹp

Cơ cấu kẹp chặt ren vít, dùng đệm tháo nhanh:

Cơ cấu kẹp bằng ren vít thể hiện như hình 3.2.

Đường kính bulong:

Theo tiêu chuẩn, ta chọn kích thước bulong là M16

Cơ cấu được hình thành bằng thép C45, nhiệt luyện đạt độ cứng 55÷60 HRC, các mép vát không chỉ dẫn C2, các bo góc không chỉ dẫn R2

* Xác định Q của cơ cấu kẹp để tạo ra được giá trị lực W:

Vì W và Q cùng phương, cùng chiều nên:

Q = W = 1270,64 N

3.3. Xác định các cơ cấu khác của đồ gá

3.3.1. Thân đồ gá

Thân đồ gá có thể chế tạo bằng hàn, đúc, rèn hoặc lắp ghép các các tấm thép tiêu chuẩn bằng bulông - đai ốc.

Thông thường người ta dùng thân đồ gá đúc bằng gang hoặc thép, thời gian chế tạo lâu và đắt tiền.

Chọn thân đồ gá được làm bằng phương pháp đúc:

Thân đồ gá được làm bằng gang xám GX 15-32, được gia công chế tạo đạt các yêu cầu kĩ thuật

3.3.2 Bạc dẫn hướng

Tra bảng 8-77 trang 527[2],cơ cấu dẫn hướng thường ứng dụng trên đồ gá khoan, khoét, doa và tiện trong. Cơ cấu dẫn hướng bao gồm hai bộ phận chính là bạc dẫn và phiến dẫn.

PHẦN IV. TÍNH TOÁN SAI SỐ CHẾ TẠO CHO PHÉP VÀ ĐỀ RA CÁC YÊU CẦU KỸ THUẬT CỦA ĐỒ GÁ

4.1. Tính sai số chế tạo cho phép

- Sai số gá đặt:

εgd=1/3.δ=1/3.200=66,67 (μm)

- Sai số chuẩn:

Nhận thấy sai số chuẩn sinh ra chủ yếu do sự sai lệch ở mối ghép của chốt trụ ngắn. Do sử dụng mối ghép trung gian H7/k6 nên ta có:

Smax=Dmax-dmin=0,032 (mm)

Nmax=dmax-Dmin=0,025 (mm)

- Sai số kẹp chặt εk

Do lực kẹp gây ra sai số kẹp chặt được xác định:

εk=C.Q^0,5=0,3.1270,640,5=10,69 (μm)

- Sai số điều chỉnh εdc

εdc=5÷10 (μm) Lấy εdc=5 (μm)

Vậy sai số chế tạo cho phép của đồ gá [εct]

εct=√([0,2/32-0,0072+0,010692+0,019672+0,0052 )=0,0622 (mm)

4.2. Yêu cầu kỹ thuật của đồ gá

- Độ không song song của mặt phiếm tỳ và mặt thân đồ gá ≤ 0,0622 (mm).

- Độ không vuông góc giữa thân đồ gá và mặt đế đồ gá ≤ 0,0622 (mm).

- Bề mặt làm việc của các chi tiết được nhiệt luyện đạt độ cứng 40 – 45 HRC.

DANH MỤC TÀI LIỆU THAM KHẢO

[1] . Nguyễn Đắc Lộc, Lê Văn Tiến, Ninh Đức Tốn, Trần Xuân Việt, Sổ

tay công nghệ chế tạo máy - Tập 1, Nhà xuất bản Khoa học và Kỹ thuật, 2001.

[2] . Nguyễn Đắc Lộc, Lê Văn Tiến, Ninh Đức Tốn, Trần Xuân Việt, Sổ

tay công nghệ chế tạo máy - Tập 2, Nhà xuất bản Khoa học và Kỹ thuật, 2001.

[3] . Nguyễn Đắc Lộc, Lê Văn Tiến, Ninh Đức Tốn, Trần Xuân Việt, Sổ

tay công nghệ chế tạo máy - Tập 3, Nhà xuất bản Khoa học và Kỹ thuật 2003.

[4] . Trần Văn Địch, Atlas đồ gá, Nhà xuất bản Khoa học và Kỹ thuật 2000.

"TẢI VỀ ĐỂ XEM ĐẦY ĐỦ BÀI TẬP LỚN"