THIẾT KẾ ĐỒ GÁ KHOAN 6 LỖ ∅10

Mã đồ án CKMDG2025049
Đánh giá: 5.0
Mô tả đồ án

     Bài tập lớn có dung lượng 55MB. Bao gồm đầy đủ các file như: File bản vẽ cad 2D (Bản vẽ lắp đồ gá khoan 6 lỗ, bản vẽ phân rã đồ gá khoan 6 lỗ…); file word (Bản thuyết minh, bìa thuyết minh…). Ngoài ra còn cung cấp rất nhiều các tài liệu chuyên ngành, các tài liệu phục vụ cho thiết kế bài tập lớn, thư viện dao gia công và chi tiết đồ gá tiêu chuẩn........... THIẾT KẾ ĐỒ GÁ KHOAN 6 LỖ ∅10.

Giá: 390,000 VND
Nội dung tóm tắt

MỤC LỤC

MỤC LỤC.......................................................................................................................................................................................................................2

DANH MỤC HÌNH ẢNH.................................................................................................................................................................................................3

DANH MỤC KÝ TỰ VIẾT TẮT.......................................................................................................................................................................................4

LỜI NÓI ĐẦU.................................................................................................................................................................................................................5

CHƯƠNG 1: PHÂN TÍCH YÊU CẦU KỸ THUẬT CỦA NGUYÊN CÔNG VÀ TRÌNH TỰ THIẾT KẾ ĐỒ GÁ...............................................................6

1.1. Phân tích yêu cầu kỹ thuật của nguyên công:.........................................................................................................................................................6

1.2. Trình tự thiết kế đồ gá:.............................................................................................................................................................................................6

CHƯƠNG 2: PHÂN TÍCH SƠ ĐỒ GÁ ĐẶT CỦA NGUYÊN CÔNG..............................................................................................................................8

2.1. Phương án 1:...........................................................................................................................................................................................................8

2.2. Phương án 2:.........................................................................................................................................................................................................10

CHƯƠNG 3: TÍNH TOÁN THIẾT KẾ VÀ LỰA CHỌN ĐÚNG CƠ CẤU ĐỊNH VỊ, CƠ CẤU KẸP CHẶT VÀ CÁC CƠ CẤU KHÁC CỦA ĐỒ GÁ.....12

3.1. Cơ cấu định vị:.......................................................................................................................................................................................................12

3.2. Lựa chọn tính toán cơ cấu kẹp chặt:.....................................................................................................................................................................14

3.2.1. Tính toán chế độ cắt:..........................................................................................................................................................................................14

3.2.2. Phân tích sơ đồ lực tác dụng lên chi tiết:............................................................................................................................................................15

3.2.3. Tính lực kẹp chi tiết:............................................................................................................................................................................................16

3.2.4. Xác định cơ cấu kẹp:..........................................................................................................................................................................................18

3.3. Chọn cơ cấu khác của đồ gá:................................................................................................................................................................................21

CHƯƠNG 4: TÍNH SAI SỐ CHẾ TẠO CHO PHÉP VÀ XÁC ĐỊNH YÊU CẦU KỸ THUẬT CỦA ĐỒ GÁ...................................................................24

4.1. Tính sai số chế tạo cho phép của đồ gá:...............................................................................................................................................................24

4.2. Yêu cầu kỹ thuật của đồ gá:..................................................................................................................................................................................26

TÀI LIỆU THAM KHẢO................................................................................................................................................................................................27

LỜI NÓI ĐẦU

Trong lĩnh vực cơ khí nói chung và mảng công nghệ chế tạo máy nói riêng thì đồ gá là một thiết bị vô cùng quan trọng. Đồ gá là thiết bị được dùng để gá đặt chi tiết gia công trên máy gia công, đảm bảo độ chính xác của các kích thước cần gia công, nâng cao năng suất gia công. Đối với sinh viên ngành cơ khí chế tạo máy, học phần “Đồ gá” là một học phần chuyên ngành quan trọng, giúp cho sinh viên có cái nhìn cơ bản nhất về đồ gá. Học phần đồ gá là cơ sở cho sinh viên để học các học phần phía sau trong đó có “Đồ án môn học công nghệ chế tạo máy”.

Với sự hướng dẫn nhiệt tình của thầy : TS…………….., em đã hoàn thành bài tập lớn môn học này với đề tài “Thiết kế đồ khoan 6 lỗ 10 ”. Tuy nhiên với kiến thức còn hạn chế nên không tránh khỏi những sai sót. Rất mong nhận được sự đóng góp ý kiến của quý thầy cô.

Em xin chân thành cảm ơn!

                                                                                                                                        Hà Nội, ngày … tháng … năm 20…

                                                                                                                                       Sinh viên thực hiện

                                                                                                                                       ……………….

CHƯƠNG 1: PHÂN TÍCH YÊU CẦU KỸ THUẬT CỦA NGUYÊN CÔNG VÀ TRÌNH TỰ THIẾT KẾ ĐỒ GÁ

1.1. Phân tích yêu cầu kỹ thuật của nguyên công:

- Yêu cầu: Khoan 6 lỗ F10.

- Yêu cầu kĩ thuật:

+ Dung sai độ không vuông góc giữa bề mặt lỗ gia công với bề mặt đáy không được vượt quá 0,05 mm.

+ Dung sai độ không vuông của đường tâm lỗ F10 đối với mặt đáy là 0,02 mm.

+ Dung sai độ song song của đường tâm lỗ F10 với lỗ F90 là 0,01 mm và dung sai độ nghiêng của đường tâm là 0,02 mm.

1.2. Trình tự thiết kế đồ gá:

- Bước 1: Nghiên cứu sơ đồ gá đặt phôi và các yêu cầu kỹ thuật của nguyên công, xác định bề mặt chuẩn, chất lượng bề mặt cần gia công, độ chính xác về kích thước hình dạng, số lượng chi tiết gia công và vị trí của cơ cấu định vị và kẹp chặt trên đồ gá.

- Bước 2: Xác định lựa cắt và mô men cắt, Phương chiều và điểm đặt lực kẹp, và các lực cùng tác động vào chi tiết như trọng lực chi tiết G, phản lực tại các điểm N, lực ma sát Fms…trong quá trình gia công. 

- Bước 5: Xác định sai số chế tạo cho phép - của đồ gá theo yêu cầu kỹ thuật của từng nguyên công.

- Bước 6: Ghi kích thước giới hạn của đồ gá (chiều dài, chiều rộng, chiều cao). Đánh số các vị trí của chi tiết trên đồ gá.

CHƯƠNG 2: PHÂN TÍCH SƠ ĐỒ GÁ ĐẶT CỦA NGUYÊN CÔNG

2.1. Phương án 1:

* Sơ đồ gá đặt:

Sơ đồ phương án 1 như hình 2.1.

* Định vị:

- Sử dụng phiến tỳ định vị bề mặt A, 1 chốt trụ ngắn định vị mặt bên B và 1 chốt chống xoay sẽ hạn chế 6 bậc tự do.

-  Phiến tỳ định vị 3 bậc tự do:

+ Tịnh tiến theo phương OZ

+ Quay quanh phương OX

- Chốt chống xoay định vị 1 bậc tự do (sau khi khoan 1 lỗ, ta dùng chốt chống xoay để định vị):

+ Quay quanh phương OZ

=> Chi tiết được khống chế 6 bậc tự do.

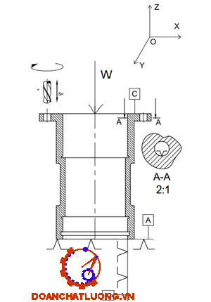
* Kẹp chặt:

- Chi tiết được kẹp chặt vào mặt C, phương thẳng đứng, chiều xuống từ trên xuống vào mặt C như hình vẽ.

2.2. Phương án 2:

* Sơ đồ gá đặt:

Sơ đồ phương án 2 như hình 2.2.

* Định vị :

- Sử dụng 1 phiến tỳ định vị trên bề mặt A, 1 khối V ngắn định vị vào mặt B và 1 chốt chống xoay sẽ hạn chế 6 bậc tự do.

- Phiến tỳ định vị 3 bậc tự do:

+ Tịnh tiến theo phương OZ

+ Quay quanh phương OX

- 1 chốt tỳ cố định mặt B định vị 1 bậc tự do (sau khi khoan 1 lỗ, ta dùng chốt chống xoay để định vị):

+ Quay quanh phương OZ

=> Chi tiết được khống chế 6 bậc tự do.

* Kẹp chặt:

- Chi tiết được kẹp chặt vào mặt C, phương thẳng đứng, chiều xuống từ trên xuống vào mặt C như hình vẽ.

  Kết luận: Từ 2 phương án đã đưa ra, ta lựa chọn phương án thứ 2 vì đồ gá đơn giản, dễ gá đặt và tháo lắp, sử dụng chi tiết để gá đặt phiến dẫn nên độ chính xác cao, thời gian tháo lắp nhanh. Do đó ta sẽ chọn phương án 1 làm đồ gá gia công.

CHƯƠNG 3: TÍNH TOÁN THIẾT KẾ VÀ LỰA CHỌN ĐÚNG CƠ CẤU ĐỊNH VỊ, CƠ CẤU KẸP

CHẶT VÀ CÁC CƠ CẤU KHÁC CỦA ĐỒ GÁ

3.1. Cơ cấu định vị:

* Phiến tỳ: Kích thước được thể hiện trong hình 3.1:

Vật liệu: thép CD80A, thấm than, chiều sâu lớp thấm 0,5÷0,8 mm; nhiệt luyện đạt 50÷60 HRC.

3.2. Lựa chọn tính toán cơ cấu kẹp chặt:

3.2.1. Tính toán chế độ cắt:

* Chọn máy: Căn cứ vào hình dạng và kích thước của chi tiết, ta chọn máy: 2H53 [3]

* Chọn dao: Mũi khoan 10, vật liệu thép gió P18 [1]

* Chọn chế độ cắt khi khoan: [2]

- Chiều sâu cắt t (mm):

+ Khoan lỗ đạt kích thước 10:

t = D/2 = 10/2 = 5 (mm)

- Lượng chạy dao S (mm/vg):

+ Tra bảng 5-25 [2] ta chọn: S = 0,15 (mm/vg)

- Tốc độ cắt V (m/ph) được xác định theo công thức:

V = Vbảng.Vmk.Ktv.KTv.Klv.Kdv

Thay vào ta được:

V = 28.1.1.1.0,84.1 = 23,5 (m/phút).

- Tốc đô trục chính là : n = 748,4 (vòng/phút)

- Lực chiều trục P0

P= 10Cp.Dq.Sy.Kp

Thay số ta được:

P0 = 10.42.101,2.0,450,75.1 = 365,728 (N)

- Mômen xoắn Mx

Mx = 10Cm.Dq.Sy.Kp

Thay số ta được:

Mx = 10.0,012.102,2.0,450,8.1 = 10,04 (N.m)

+ Công suất cắt :  NC = (Mx.n)/972 = 1,004.750/972 = 0,77 (Kw)

Công suất cho phép của máy [N] = 2,8 KW ta thấy chế độ cắt đảm bảo an toàn.

3.2.2. Phân tích sơ đồ lực tác dụng lên chi tiết:

Lực tác dụng lên chi tiết bao gồm:

- G: trọng lượng chi tiết.

- W: lực tác dụng lên chi tiết.

- : lực ma sát do W tác dụng lên chi tiết sinh ra.

- : lực ma sát giữa chi tiết tác dụng lên phiến tỳ.

Phân tích lực thể hiện như hình 3.2.

3.2.3. Tính lực kẹp chi tiết:

* Trường hợp 1: Chi tiết quay quanh tâm

Phương trình cân bằng momen:

Mms = Mx

Với sơ đồ tính lực kẹp như hình vẽ ta có:

                                    Mms = 2.Mms.L ; Fms = (W + P0).f

Suy ra:                         Mms = 2.L.(W + P0).f

Thay số, ta có: W ≥ 1000.10,04/2.65.0,15 – 365,7  ≥  150 N

* Trường hợp 2: Chi tiết lật tại điểm D.

Ta có phương trình mô men cân bằng :

P0. L1 – W.L2 + Fms2.L3 = 0

Thay số, ta có: 365,7.15 – W.50 + 170.0,15=0

=> W = 796 N

Trong thực tế, để đảm bảo độ an toàn trong quá trình gia công thì ta thêm hệ số an toàn K:

K = K0.K1.K2.K3.K4.K5.K6

Thay vào ta được: K = K0.K1.K2.K3.K4.K5.K6 = 2,34

Vậy ta có:   W = 796.2,34= 1872 (N)

Ta chọn cơ cấu kẹp chặt ren vít, dùng dệm tháo nhanh như hình 3.3.

Đường kính bulong:

Với: [σk ] = (8 ÷ 20) (KG/mm2)

Vậy D = √(W/0,5.80)=√(1872/(0,5 .20)) = 13,6 (mm)

Theo tiêu chuẩn, ta chọn kích thước bulong là M16.

* Xác định Q của cơ cấu kẹp để tạo ra được giá trị lực W:

Vì W và Q cùng phương, cùng chiều nên:

Q = W = 1872 N

3.3. Chọn cơ cấu khác của đồ gá:

* Bạc dẫn hướng:

Tra bảng 8-77 trang 527 , ta chọn bạc tháo nhanh phù hợp. Kích thước thể hiện trên hình 3.5 vẽ:

Vật liệu: thép DC100A, tôi HRC 58 ÷ 63.

*  Phiến dẫn:

Kích thước được thể hiện trong hình 3.6.

Vật liệu: thép CD80A, thấm than, chiều sâu lớp thấm 0,5÷0,8 mm; nhiệt luyện đạt 50÷60 HRC.

CHƯƠNG 4: TÍNH SAI SỐ CHẾ TẠO CHO PHÉP VÀ XÁC ĐỊNH YÊU CẦU KỸ THUẬT CỦA ĐỒ GÁ

4.1. Tính sai số chế tạo cho phép của đồ gá:

- Sai số gá đặt: εgd = (1/5  ÷  1/3 ).δ (Với dung sai: δ = 0,1 mm)

=> εgd = 0,04 (mm)

- Sai số mòn đồ gá:

εm = β.√N (μm)

Suy ra: εm = β.√N = 0,22.√15000 = 26,9 ( μm) = 0,027 (mm).

- Sai số kẹp chặt:  Phương lực kẹp vuống góc phương kích thước gia công. Nên:  εkc = 0 (mm)

- Sai số chuẩn:

Ta có:

DE – EF – FD = 0

<=> DE - H – C =0

<=> H= DE – C

<=> ɛc(H) =  = 0,02 mm

Thay số, ta được: [εct ] = √(0,042-( 02+ 0,022+ 0,0272+ 0,0052) = 0,021 (mm)

4.2. Yêu cầu kỹ thuật của đồ gá:

- Dung sai độ không vuông góc giữa tâm chốt trụ ngắn với bề mặt thân đồ gá không vượt quá 0,021 mm.

- Dung sai độ không song song giữa bề mặt phiến tỳ và bề mặt thân đồ gá không vượt quá 0,021 mm.

- Dung sai độ không vuông góc giữa phiến tỳ và bề mặt thân đồ gá không vượt quá 0,021 mm.

TÀI LIỆU THAM KHẢO

[1]. Nguyễn Đắc Lộc, Lê Văn Tiến, Ninh Đức Tốn, Trần Xuân Việt, Sổ tay công nghệ chế tạo máy 1, Nhà xuất bản và khoa học kỹ thuật, Hà Nội 2005.

[2]. Nguyễn Đắc Lộc, Lê Văn Tiến, Ninh Đức Tốn, Trần Xuân Việt, Sổ tay công nghệ chế tạo máy 2, Nhà xuất bản và khoa học kỹ thuật, Hà Nội 2006.

3]. Nguyễn Đắc Lộc, Lê Văn Tiến, Ninh Đức Tốn, Trần Xuân Việt, Sổ tay công nghệ chế tạo máy 3, Nhà xuất bản và khoa học kỹ thuật, Hà Nội 2007.

[4]. Trần Văn Địch, Aslat Đồ Gá, Nhà xuất bản và khoa học kỹ thuật, Hà Nội 2000.

"TẢI VỀ ĐỂ XEM ĐẦY ĐỦ BÀI TẬP LỚN"