THIẾT KẾ ĐỒ GÁ KHOAN, DOA HAI CHỐT ĐỊNH VỊ ∅6 HỘP GIẢM TỐC

Mã đồ án CKMDG2025039
Đánh giá: 5.0
Mô tả đồ án

     Bài tập lớn có dung lượng 75MB. Bao gồm đầy đủ các file như: File bản vẽ cad 2D (Bản vẽ lắp đồ gá khoan-doa, bản vẽ phân rã đồ gá khoan-doa…); file word (Bản thuyết minh, nhiệm vụ đề tài, bìa thuyết minh…). Ngoài ra còn cung cấp rất nhiều các tài liệu chuyên ngành, các tài liệu phục vụ cho thiết kế bài tập lớn, thư viện dao gia công và chi tiết đồ gá tiêu chuẩn........... THIẾT KẾ ĐỒ GÁ KHOAN, DOA HAI CHỐT ĐỊNH VỊ ∅6 HỘP GIẢM TỐC.

Giá: 390,000 VND
Nội dung tóm tắt

MỤC LỤC

MỤC LỤC………………………………………………………………............................….................................…...8

PHẦN 1. PHÂN TÍCH YÊU CẦU KỸ THUẬT CỦA NGUYÊN CÔNG VÀ TRÌNH TỰ THIẾT KẾ ĐỒ GÁ............9

1.1. Phân tích yêu cầu kỹ thuật của nguyên công................................................................................................9

1.2. Trình tự thiết kế đồ gá....................................................................................................................................9

PHẦN 2. PHÂN TÍCH SƠ ĐỒ GÁ ĐẶT NGUYÊN CÔNG................................................................................. 10

2.1. Phương án 1................................................................................................................................................10

2.2. Phương án 2................................................................................................................................................12

PHẦN 3. TÍNH TOÁN THIẾT KẾ VÀ LỰA CHỌN CÁC CƠ CẤU CỦA ĐỒ GÁ   . ……………………………....14

3.1. Lựa chọn cơ cấu định vị...............................................................................................................................14

3.2. Tính toán và lựa chọn cơ cấu kẹp chặt........................................................................................................18

3.2.1. Sơ đồ phân tích lực...................................................................................................................................18

3.2.2. Tính lực kẹp...............................................................................................................................................19

3.2.3. Lựa chọn và xác định cơ cấu kẹp chặt......................................................................................................22

3.3. Xác định các cơ cấu khác của đồ gá............................................................................................................24

3.3.1. Thân đồ gá.................................................................................................................................................24

3.3.2. Phiến dẫn cố định.......................................................................................................................................24

3.3.3. Bạc dẫn hướng..........................................................................................................................................24

PHẦN 4. TÍNH TOÁN SAI SỐ CHẾ TẠO CHO PHÉP VÀ ĐỀ RA CÁC YÊU CẦU KỸ THUẬT CỦA ĐỒ GÁ....28

4.1. Tính sai số chế tạo cho phép........................................................................................................................28

4.2. Yêu cầu kỹ thuật của đồ gá..........................................................................................................................28

TÀI LIỆU THAM KHẢO.......................................................................................................................................29

LỜI NÓI ĐẦU

 Trong lĩnh vực cơ khí nói chung và mảng công nghệ chế tạo máy nói riêng thì đồ gá là thiết bị vô cùng quan trọng. Đồ gá là chi tiết dùng để gá đặt chi tiết trên máy gia công, đảm bảo độ chính xác của chi tiết cần gia công, nâng cao năng suất gia công. Đối với sinh viên ngành cơ khí chế tạo máy, học phần “Đồ gá” là một học phần chuyên ngành quan trọng giúp cho sinh viên có cái nhìn cơ bản nhất về đồ gá. Học phần đồ gá là cơ sở cho sinh viên học học phần sau .

Với sự hướng dẫn nhiệt tình của thầy: TS……………… , em đã hoàn thành bài tập lớn môn học này với đề tài “Thiết kế đồ gá khoan, doa hai chốt định vị ∅6 . Tuy nhiên với kiến thức còn hạn chế nên không tránh khỏi những sai sót. Rất mong được sự đóng góp của quý thầy cô.

Em xin chân thành cám ơn!

                                                                                                                                              Hà Nội, ngày … tháng … năm 20…

                                                                                                                                               Sinh viên thực hiện

                                                                                                                                                ………………

PHẦN 1. PHÂN TÍCH YÊU CẦU KỸ THUẬT CỦA NGUYÊN CÔNG VÀ TRÌNH TỰ THIẾT KẾ ĐỒ GÁ

1.1. Phân tích yêu cầu kỹ thuật của nguyên công

Theo yêu cầu đề bài đưa ra: Gia công khoan, doa 2 chốt định vị ∅6 (mm).

* Yêu cầu kỹ thuật:

- Bề mặt gia công yêu cầu độ nhám Rz = 10. Với độ nhám Ra = 2.5  tương ứng với độ chính xác cấp 6.

- Gia công khoan lỗ đạt kích thước ∅5 ±0.1(mm)

- Gia công doa 2 lỗ ∅6±0.1(mm) .

1.2. Trình tự thiết kế đồ gá.

- Bước 1: Nghiên cứu sơ đồ gá đặt phôi và các yêu cầu kĩ thuật của nguyên công, xác định bề mặt chuẩn, chất lượng bề mặt cần gia công, độ chính xác về kích thước hình dạng, số lượng chi tiêt gia công và vị trí của cơ cấu định vị và kẹp chặt trên đồ gá.

- Bước 2: Xác định lực cắt và momen cắt, phương chiều và điểm đặt lực kẹp và các lực cùng tác động vào chi tiết như trọng lực của chi tiết G, phản lực tại các điểm N, lực ma sát Fms … trong quá trình gia công. Xác định các điểm nguy hiểm mà lực cắt momen cắt có thể gây ra. Sau đó viết phương trình cân bằng về lực để xác định giá trị kẹp cần thiết.

- Bước 5: Xác định sai số chế tạo cho phép [xct] của đồ gá theo yêu cầu kĩ thuật của từng nguyên công.

- Bước 6: Ghi kích thước giới hạn của đồ gá (chiều dài, chiều rộng, chiều cao) đánh số các vị trí của chi tiết trên đồ gá.

PHẦN 2. PHÂN TÍCH SƠ ĐỒ GÁ ĐẶT NGUYÊN CÔNG

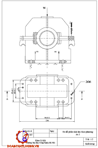
2.1.  Phương án 1

* Sơ đồ gá đặt:

Sơ đồ gá đặt theo phương án 1 như hình 2.1.

* Phân tích định vị:

- Theo nguyên tắc định vị thì chi tiết sẽ được định vị tối đa 6 bậc tự do:

- Sử dụng 2 phiến tỳ ở mặt đáy của chi tiết hạn chế được 3 bậc tự do:

+ Chống tịnh tiến theo Oz

+ Chống xoay theo Ox

- Tại vị trí 2 lỗ ở đáy hộp giảm tốc định vị bằng 2 chốt trụ, dùng 1 chốt trụ ngắn hạn chế hai bậc tự do và 1 chốt trụ trám hạn chế một bậc tự do .

+ Chống xoay Oz

+ Chống tịnh tiến theo Ox

* Phân tích kẹp chặt:

- Phương của lực kẹp theo trục Oz.

- Sử dụng kẹp chặt bằng ren vít , kẹp chặt bằng mỏ kẹp trượt có phương  từ trên xuống vuông góc với mặt đáy của đồ gá.

2.2. Phương án 2

* Sơ đồ gá đặt:

Sơ đồ gá đặt theo phương án 2 như hình 2.1.

* Phân tích định vị:

- Theo nguyên tắc định vị thì chi tiết sẽ được hạn chế tối đa 5 bậc tự do:

- Sử dụng 2 phiến tỳ 2 mặt đáy của chi tiết hạn chế được 3 bậc tự do:

+ Chống tịnh tiến theo Oz

+ Chống xoay theo Ox

- Mặt cạnh bên hạn chế 2 bậc tự do. Sử dụng 2 chốt tì.

+ Chống tịnh tiến theo Ox

+ Chống xoay theo Oy

* Phân tích kẹp chặt:

- Sử dụng hai mở kẹp đơn, phương của lực kẹp theo trục Oz.

- Chiều lực kẹp hướng vào mặt đáy và vuông góc với mặt đáy của đồ gá .

Kết luận: Từ hai phương án đã đưa ra ta chọn phương án gia công số 1 bởi vì phù hợp với phương án gia công tinh, đồ gá dễ tháo lắp, chi tiết không bị uốn và biến dạng bởi lực kẹp.

PHẦN 3.  TÍNH TOÁN THIẾT KẾ VÀ LỰA CHỌN CÁC CƠ CẤU CỦA ĐỒ GÁ

3.1. Lựa chọn cơ cấu định vị

* Phiến tỳ :

- Tra bảng (8-3) [1] ta có thông số của phiến tỳ:

- Sử dụng 2 phiến tỳ định vị 3 bậc tự do:

+ Tịnh tiến theo phương OZ

+ Quay quanh phương OX

* Chốt trụ ngắn:

- Hạn chế 2 bậc tự do

- Vật liệu:Y8A

- Độ cứng vật liệu: Bề mặt làm việc của chốt trụ được nhiệt luyện đạt độ cứng 55-60(HRC)

3.2. Tính toán và lựa chọn cơ cấu kẹp chặt

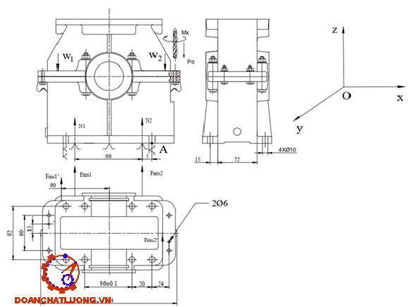
3.2.1. Sơ đồ phân tích lực

- Trong quá trình gia công khoan:

+ Lực momen xoắn Mx do dụng cụ cắt gây ra, Po hướng theo chiều khoan lỗ.

+ Lực kẹp W hướng theo phương OZ từ trên hướng xuống

+ Phản lực tại phiến tì N do lực kẹp và lực cắt sinh ra có phương trùng với phương của trục OZ và ngược chiều với hướng của lực kẹp và lực cắt.

+ Lực Fms1, Fms2 lực ma sát trên bề mặt tiếp xúc giữa phiến tỳ và chi tiết.

+ Lực Fms1’, Fms2’ lực ma sát trên bề mặt tiếp xúc giữa mỏ kẹp và chi tiết.

+ N1, N2 phản lực của phiến tỳ tác dụng lên chi tiết.

- Phương của lực khi gia công, chi tiết có xu hướng quay quanh OZ khi gia công.

Sơ đồ phân tích lực như hình 3.3.

3.2.2. Tính lực kẹp

- Xác định lực kẹp để chi tiết không bị xoay trong quá trình gia công

- Phương chiều lực kẹp

+ Phương: Phương lực kẹp phải thẳng góc với mặt chuẩn định vị để có diện tích tiếp xúc là lớn nhất, giảm áp suất lực kẹp gây ra để tránh biến dạng.

+ Chiều lực kẹp hướng từ ngoài vào mặt chuẩn định vị để có lợi thế về lực và cơ cấu kẹp có kết cấu nhỏ gọn.

- Điểm đặt của lực kẹp phải đặt so cho độ cứng vững của phôi và đồ gá là lớn nhất, ít biến dạng khi kẹp chặt cũng như khi gia công.

- Các lực hoạt động:

+ Lực cắt Po

+ Lực kẹp ,

+ Trọng lực nhưng không đáng kể.

+ Phản lực N1, N2 phân bố đều trên phiến tỳ.

+ Lực ma sát Fms1, Fms2 sinh ra tại điểm kẹp và sinh ra tại điểm tiếp xúc của phiến tì với chi tiết.

- Lực cắt P0 và momen xoắn khi khoan tính theo công thức [1]:

P0 =10.Cp.Dq.Sy.Kp

Mx =10.CM.Dq.Sy.Kp

- Tra bảng 5-32 ta có: Cp =   42.7   ;    y =  0.8  ;  q = 2;    CM = 0.021  ;   y = 0.8   ;  q = 2

Ta có :

P0=10.42,7.(5)^1.(0.16)^0.8.1=492.83  (N)

Mx = 1,21 (K.N)=1210(N)

* Trường hợp 1 : Đảm bảo chi tiết không xoay quanh tâm dao

Phương trình cân bằng momen:

Mx.k ≥ Mms

Hệ số an toàn:

K = k0.k1.k2.k3.k4.k5.k6 = 3.51 [1]

Ta có : Mx.k ≥ Mms⇔ Mx.3,51≥(W+P0).f.L

=>1210.3,51≥(W+492,83).0,1.51⇔W=1210.3,51/0,1.51-492,83

=>W=339,93(N)

* Trường hợp 2:  Đảm bảo chi tiết không bị lật tại điểm A

- Các lực tác dụng lên chi tiết bao gồm :

+ Lực dọc trục Po

+ Lực kẹp W1,W2 và lực ma sát do W tạo ra

+ Phản lực N1,N2 và lực ma sát do N tạo ra

- Phương trình cân bằng theo Oz :

-W1-W2-P0=N1+N2→2N+2W=-492,83 (2)

Thay (2) vào (1) ta có: W = 137,57 (N)

* Lực kẹp cần thiết:

Wct = K.W

Ta có: Wct = K.W =3,51. 137,57= 482,87 (N)

3.2.3. Lựa chọn và xác định cơ cấu kẹp chặt 

- Sử dụng cơ cấu kẹp chặt bằng ren vít:

- Phạm vi ứng dụng: sử dụng rông rãi trong sản xuất loạt vừa, nhỏ và đơn chiếc.

- Phương trình cân bằng các momen lực đối với điểm tì cố định được viết như sau: 

Q.L1.η = W.(L1+L2)

Ta có : Q=(2.W.(L1+L2))/L1 =2.482,87.100/35=2759,26(N)

- Loại mỏ kẹp chọn là mở kẹp trượt loại III. Theo bảng 8.30 [2] ta có bảng thông số của mỏ kẹp.

3.3. Xác định các cơ cấu khác của đồ gá

3.3.1. Thân đồ gá

- Thân đồ gá: Với đề bài cho số lần gá đặt là N = 15000 lần, là chi tiết gia công loạt lớn. Vì vậy yêu cầu thân đồ gá có độ cứng vững cao, ta chọn thân đồ gá là dạng đúc.

- Vật liệu: gang GX15 - 32

3.3.2.Phiến dẫn cố định  

- Vật liệu:Thép 9XC

- Độ cứng: 60 HRC

3.3.3. Bạc dẫn hướng

- Bạc dẫn hướng là bạc thay nhanh.

PHẦN 4. TÍNH TOÁN SAI SỐ CHẾ TẠO CHO PHÉP VÀ ĐỀ RA CÁC YÊU CẦU KỸ THUẬT CỦA ĐỒ GÁ

4.1. Tính sai số chế tạo cho phép

- εk : sai số kẹp chặt phôi, vì trong trường hợp này lực kẹp vuông góc với phương kích thước thực hiện nên εk=0

- εc : sai số chuẩn do định vị chi tiết gia công. Ta có sai số chuẩn :

εc = Dmax = ES-ei

=> εc=Dmax=ES-ei=0,018-(-0,018)=0,036(mm)

εm : sai số mòn của đồ gá :

εm = B.√N

Suy ra: ε= 0,22.√15000=26,9(μm)= 0,0269 mm

εdc:  sai số điều chỉnh. Lấy εdc=8 (μm)

ε: sai số gá đặt.

]=2/3.δ=2/3.0,1=0.066 (mm)

Thay số ta được: [εct]=√(0,0662-0,0362+0+0,02692+0,0082)=0,048(mm)

4.2. Yêu cầu kỹ thuật của đồ gá

- Độ song song của mặt định vị so với đáy đồ gá  0,048 (mm)

- Độ vuông góc giữa giữa mặt phẳng định vị với tâm chốt định vị 0,048 (mm)

- Độ song song giữa hai chốt định vị  0,048 (mm)

- Độ vuông góc giữa tâm chốt định vị với đáy đồ gá  0,048 (mm)

- Kích thước, góc độ của chốt trụ ngắn với tâm lỗ gia công được xác định với sai số cho phép 0,048 (mm)

TÀI LIỆU THAM KHẢO

[1]. Nguyễn Đắc Lộc, Lê Văn Tiến, Ninh Đức Tốn, Trần Xuân Việt, Sổ tay công nghệ chế tạo máy - Tập 1, Nhà xuất bản Khoa học và Kỹ thuật, 2005.

[2]. Nguyễn Đắc Lộc,Lê Văn Tiến, Ninh Đức Tốn, Trần Xuân Việt, Sổ tay công nghệ chế tạo máy 2-Tập 2, Nhà xuất bản Khoa học và Kỹ thuật, 2005.

[3]. Trần Văn Địch , Sổ tay và Atlas đồ gá, Nhà xuất bản Khoa học và Kỹ thuật, 2000.

"TẢI VỀ ĐỂ XEM ĐẦY ĐỦ BÀI TẬP LỚN"