THIẾT KẾ ĐỒ GÁ KHOAN, DOA LỖ CHỐT ĐỊNH VỊ ∅3 HỘP GIẢM TỐC

Mã đồ án CKMDG2025040
Đánh giá: 5.0
Mô tả đồ án

     Bài tập lớn có dung lượng 75MB. Bao gồm đầy đủ các file như: File bản vẽ cad 2D (Bản vẽ lắp đồ gá khoan-doa, bản vẽ phân rã đồ gá khoan-doa…); file word (Bản thuyết minh, nhiệm vụ đề tài, bìa thuyết minh…). Ngoài ra còn cung cấp rất nhiều các tài liệu chuyên ngành, các tài liệu phục vụ cho thiết kế bài tập lớn, thư viện dao gia công và chi tiết đồ gá tiêu chuẩn........... THIẾT KẾ ĐỒ GÁ KHOAN, DOA LỖ CHỐT ĐỊNH VỊ ∅3 HỘP GIẢM TỐC.

Giá: 390,000 VND
Nội dung tóm tắt

MỤC LỤC

DANH MỤC HÌNH VẼ ..................................................................................................................................2

DANH MỤC BẢNG BIỂU ............................................................................................................................3

DANH MỤC KÝ TỰ VIẾT TẮT ....................................................................................................................4

LỜI NÓI ĐẦU................................................................................................................................................5

Phần I: PHÂN TÍCH YÊU CẦU KỸ THUẬT CỦA NGUYÊN CÔNG VÀ TRÌNH TỰ THIẾT KẾ ĐỒ GÁ......6

1.1. Phân tích yêu cầu kỹ thuật của nguyên công.........................................................................................6

1.2. Trình tự thiết kế đồ gá............................................................................................................................6

Phần II: PHÂN TÍCH SƠ ĐỒ GÁ ĐẶT NGUYÊN CÔNG.............................................................................7

2.1. Phương án I...........................................................................................................................................7

2.2. Phương án II..........................................................................................................................................9

Phần III: TÍNH TOÁN THIẾT KẾ VÀ LỰA CHỌN CÁC CƠ CẤU CỦA ĐỒ GÁ ........................................11

3.1. Lựa chọn cơ cấu định vị........................................................................................................................11

3.2. Tính toán và lựa chọn cơ cấu kẹp chặt.................................................................................................11

3.2.1. Sơ đồ phân tích lực............................................................................................................................11

3.2.2. Tính lực kẹp.......................................................................................................................................12

3.2.3. Lựa chọn và xác định cơ cấu kẹp......................................................................................................13

3.3. Xác định các cơ cấu khác của đồ gá.....................................................................................................16

Phần IV: TÍNH SAI SỐ CHẾ TẠO CHO PHÉP VÀ XÁC ĐỊNH YÊU CẦU KĨ THUẬT CỦA ĐỒ GÁ...........17

4.1. Tính sai số chế tạo cho phép của đồ gá................................................................................................17

4.2. Yêu cầu kĩ thuật của đồ gá....................................................................................................................19

DANH MỤC TÀI LIỆU THAM KHẢO ......................................................................................................... 20

PHỤ LỤC BẢN VẼ CÁC CHI TIẾT CỦA ĐỒ GÁ ....................................................................................... 21

LỜI NÓI ĐẦU

Trong lĩnh vực cơ khí nói chung và mảng công nghệ chế tạo máy nói riêng thì đồ gá là thiết bị vô cùng quan trọng. Đồ gá là chi tiết dùng để gá đặt chi tiết trên máy gia công, đảm bảo độ chính xác của chi tiết cần gia công, nâng cao năng suất gia công. Đối với sinh viên ngành cơ khí chế tạo máy, học phần “Đồ gá” là một học phần chuyên ngành quan trọng giúp cho sinh viên có cái nhìn cơ bản nhất về đồ gá. Học phần đồ gá là cơ sở cho sinh viên học học phần sau.

Với sự hướng dẫn nhiệt tình của thầy : TS…………….., em đã hoàn thành bài tập lớn môn học này với đề tài “Thiết kế đồ gá khoan, doa hai chốt định vị ∅3. Tuy nhiên với kiến thức còn hạn chế nên không tránh khỏi những sai sót. Rất mong được sự đóng góp của quý thầy cô. Em xin chân thành cám ơn.

Em xin chân thành cảm ơn!

                                                                                                                                                 Hà Nội, ngày … tháng … năm 20….

                                                                                                                                                Sinh viên thực hiện

                                                                                                                                                  …..…………..

Phấn I: PHÂN TÍCH YÊU CẦU KỸ THUẬT CỦA NGUYÊN CÔNG VÀ TRÌNH TỰ THIẾT KẾ ĐỒ GÁ

1.1. Phân tích yêu cầu kỹ thuật của nguyên công

Theo yêu cầu đề bài đưa ra: Gia công khoan, doa 2 chốt định vị 3 0.05 (mm)

* Yêu cầu kỹ thuật:

- Bề mặt gia công yêu cầu độ nhám Ra = 2.5  tương ứng với độ chính xác cấp 6.

- Gia công khoan lỗ đạt kích thước ∅2 ±0.05  mm

- Gia công doa 2 lỗ ∅3±0.05 .

1.2. Trình tự thiết kế đồ gá

- Bước 1. Nghiên cứu sơ đồ gá đặt phôi và các yêu cầu kĩ thuật của nguyên công, xác định bề mặt chuẩn, chất lượng bề mặt cần gia công, độ chính xác về kích thước hình dạng, số lượng chi tiêt gia công và vị trí của cơ cấu định vị và kẹp chặt trên đồ gá.

- Bước 2. Xác định lực cắt và momen cắt, phương chiều và điểm đặt lực kẹp và các lực cùng tác động vào chi tiết như trọng lực của chi tiết G, phản lực tại các điểm N, lực ma sát Fms … trong quá trình gia công. Xác định các điểm nguy hiểm mà lực cắt momen cắt có thể gây ra. Sau đó viết phương trình cân bằng về lực để xác định giá trị kẹp cần thiết.

- Bước 5. Xác định sai số chế tạo cho phép [xct] của đồ gá theo yêu cầu kĩ thuật của từng nguyên công.

- Bước 6. Ghi kích thước giới hạn của đồ gá ( chiều dài, chiều rộng, chiều cao) đánh số các vị trí của chi tiết trên đồ gá.

Phần II. PHÂN TÍCH SƠ ĐỒ GÁ ĐẶT NGUYÊN CÔNG

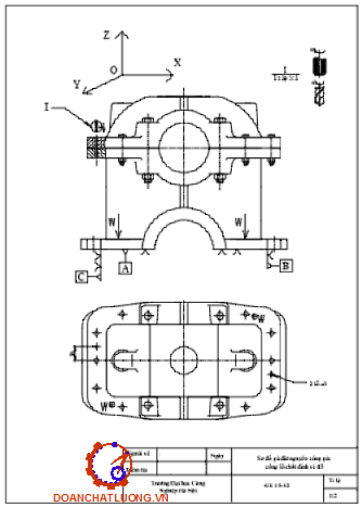
2.1. Phương án I

* Sơ đồ gá đặt:

Sơ đồ gá đặt theo phương án I như hình 1.1.

* Phân tích định vị:

- Theo nguyên tắc định vị thì chi tiết sẽ được định vị tối đa 6 bậc tự do

- Sử dụng 2 phiến tỳ ở mặt đáy của chi tiết hạn chế được 3 bậc tự do:

+ Chống tịnh tiến theo Oz

+ Chống xoay theo Ox

- Tại vị trí 2 lỗ ở đáy hộp giảm tốc định vị bằng 2 chốt trụ dùng 1 chốt trụ ngắn và 1 chốt trụ trám định vị 3 bậc tự do:

+ Chống xoay Oz

+ Chống tịnh tiến theo Ox

* Phân tích kẹp chặt:

- Phương của lực kẹp theo trục Oz.

- Kẹp chặt bằng mỏ kẹp từ trên xuống vuông góc với mặt đáy.

2.2. Phương án II

* Sơ đồ gá đặt:

Sơ đồ gá đặt theo phương án II như hình 1.2.

* Phân tích định vị:

- Theo nguyên tắc định vị thì chi tiết sẽ được hạn chế tối đa 6 bậc tự do:

- Sử dụng 2 phiến tỳ ở mặt đáy A của chi tiết hạn chế được 3 bậc tự do:

+ Chống tịnh tiến theo Oz

+ Chống xoay theo Ox

- Mặt bên C hạn chế 2 bậc tự do. Sử dụng 2 chốt tì.

+ Chống tịnh tiến theo Ox

+ Chống xoay theo Oz

* Phân tích kẹp chặt:

- Phương lực kẹp song song với Oz.

- Kẹp chặt bằng mỏ kẹp từ trên xuống vuông góc với mặt đáy.

Kết luận: Từ 2 phương án trên ta chọn phương án 1 để gia công bởi vì phù hợp với phương án gia công tinh.

Phần III. TÍNH TOÁN THIẾT KẾ VÀ LỰA CHỌN CÁC CƠ CẤU CỦA ĐỒ GÁ

3.1. Lựa chọn cơ cấu định vị

- Tra ra bảng 8-3 trang 395 [2], để chọn phiến tỳ có thông số sau (xem bản vẽ chi tiết tại phụ lục):

- Hai phiến tỳ định vị 3 bậc tự do:

+ Tịnh tiến theo phương OZ

+ Quay quanh phương OY

- Vật liệu: thép 20Cr, thấm than, chiều sâu lớp thấm 0,5÷0,8 mm, nhiệt luyện đạt 50÷60 HRC. Dung sai kích thước H, δH=0,2÷0,3.

- Chốt trụ ngắn định vị 2 bậc tự do:

+ Chống tịnh tiến theo Ox

+ Chống tịnh tiến theo Oy

3.2. Tính toán và lựa chọn cơ cấu kẹp chặt

3.2.1. Sơ đồ phân tích lực

- Lực tác dụng nên chi tiết bao gồm:

+ Lực momen xoắn Mx do dụng cụ cắt gây ra, Po hướng theo chiều khoan lỗ

+ Lực kẹp W hướng theo phương Oz từ trên xuống

+ Phản lực tại phiến tì N do lực kẹp và lực cắt sinh ra có phương trùng với phương của Oz chiều ngược lại với lực kẹp và lực cắt

Sơ đồ phân tích lực như hình 3.1.

Kết luận:

+ Dựa vào sơ đồ lực ta thấy lực tác dụng lên chi tiết lớn nhất đều có phương song song với trục chính, nếu lực kẹp không đủ sẽ làm chi tiết bị lật quanh điểm A là điểm thấp nhất trên phiến tì.

+ Mô men do lực cắt gây ra làm chi tiết quay quanh trục dao như trên hình vẽ.

3.2.2. Tính lực kẹp

Lực cắt  khi khoan được tính theo công thức trong bảng 41 trang 43 [2]:.

P0=10.Cp.d^q.S^y.kp

Thay vào công thức (3.1) ta được:  P0=10.42,7.2.0,110,8=146,07 (N)

Momen xoắn được tính theo công thức trong bảng 41 trang 43 [2]:

Mx=10.Cm.dq.Sy.kp (3.2)

Thay vào công thức (3.2) ta được: Mx=10.0,021.22.0,110,8.1=0,14 (Nm)

Công suất máy khi khoan được tính theo công thức:

Nc=(Mx.n)/972=0,14.2500/972=0,36 (kw)

- Trường hợp : chi tiết bị lật tại điểm A

Xét momen tại A cân bằng ta có:

28,6.P0=W.18,4

=> W=(28,6.P0)/18,4=28,6.146,07/18,4=227,04 (N)

- Trường hợp: chi tiết quay quanh tâm dao.

Phương trình cân bằng momen:

Mms = Mx

Để tăng tính chất an toàn khi kẹp ta thêm hệ số an toàn k:

Mms ≥ Mx.k

Từ đó ta có:

(W + P0 ).f.L ≥ k.Mx

⇔ W≥(k.Mx)/(f.L)-P0

Trong thực tế, để đảm bảo độ an toàn trong quá trình gia công thì ta thêm hệ số an toàn k:

=> k=1,5.1,2.1,2.1.1,3.1.1,5=4,212

Lực kẹp cần thiết được xác định theo công thức:

Wct = W.k = 4,212.227,04=956,3 (N)

3.2.3. Lựa chọn và xác định cơ cấu kẹp

- Ta chọn cơ cấu kẹp bằng ren vít:

- Đường kính bulong:

- Đường kính ngoài của ren vit là D = (13,9-18,2) mm

=> Chọn D = 16 mm

- Xác định Q của cơ cấu kẹp để tạo ra lực W:

Ta có Q =(956,3.(35+65))/35=2732,3 (N)

3.3. Xác định các cơ cấu khác của đồ gá

- Bạc lót (xem bản vẽ chi tiết tại phụ lục)

- Cơ cấu dẫn hướng khoan : Bạc dẫn hướng (xem bản vẽ chi tiết tại phụ lục): Đây là đồ gá đặc trưng cho phương pháp khoan-khoét-doa. Nó giúp tăng năng suất gia công, tăng độ cứng vững cho mũi khoan. Để thuận tiện cho việc gia công, ít gá đặt chi tiết trong nguyên công này, ta lựa chọn bạc dẫn hướng thay thế nhanh.

- Thân đồ gá (xem bản vẽ chi tiết tại phụ lục): Với số lần gá đặt 15000 chi tiết/năm là gia công chi tiết hàng loạt lớn. Vì vậy ta phải lựa chọn thân đồ gá có độ cứng vững cao. Thân đồ gá nên chọn là đồ gá dạng đúc.

Phần IV: TÍNH TOÁN SAI SỐ CHẾ TẠO CHO PHÉP VÀ ĐỀ RA CÁC YÊU CẦU KỸ THUẬT CỦA ĐỒ GÁ

4.1. Tính sai số chế tạo cho phép

- Sai số chế tạo cho phép của đồ gá:

+ Sai số gá đặt: εgd= 0,05 (mm)

+  Sai số mòn đồ gá:

εm= β.√N(μm)

=> εm =0,2.√15000=24,5 μm=0,024 mm

+ Sai số kẹp chặt: Phương lực kẹp vuông góc phương kích thước gia công. Nên: εkc  = 0 (mm)

+ Sai số chuẩn: Do định vị bên trong bề mặt lỗ nên sẽ sảy ra trường hợp chốt bị lệch so với gốc kích thước.

Khi đó ta có:

εc [H]=(0,02+0,04)/2=0,03 (mm)

Thay số, ta được:

ct] = √(0,052-(0,032+0,0242+0,012)  = 0,03 (mm)

4.2. Yêu cầu kỹ thuật của đồ gá

- Độ không song song và sai lệch kích thước khoảng cách giữa các lỗ của bạc dẫn < 0,0164 mm.

- Độ không song song giữa các mặt của phiến tì < 0,0164 mm.

- Chi tiết có khối lượng lớn nên đồ gá cần chịu được lực kẹp chặt lớn.

- Thời gian gá đặt ngắn, dễ dàng.

DANH MỤC TÀI LIỆU THAM KHẢO

[1] GS.TS Nguyễn Đắc Lộc, PGS.TS Lê Văn Tiến, PSG.TS Ninh Đức Tốn, PGS.TS Trần Xuân Việt, Sổ tay công nghệ chế tạo máy 1, Hà Nội: NXBKHKT, 2007.

[2] GS.TS Nguyễn Đắc Lộc, PGS.TS Lê Văn Tiến, PSG.TS Ninh Đức Tốn, PGS.TS Trần Xuân Việt, Sổ tay công nghệ chế tạo máy 2, Hà Nội: NXBKHKT, 2005.

[3] GS.TS Nguyễn Đắc Lộc, PGS.TS Lê Văn Tiến, PSG.TS Ninh Đức Tốn, PGS.TS Trần Xuân Việt, Sổ tay công nghệ chế tạo máy 3, Hà Nội: NXBKHKT, 2006.

[4] PGS.TS Trần Văn Địch, Aslat Đồ Gá, Hà Nội:NXBKHKT, 2000

"TẢI VỀ ĐỂ XEM ĐẦY ĐỦ BÀI TẬP LỚN"