THIẾT KẾ ĐỒ GÁ GIA CÔNG LỖ 45, 52, 60 TRÊN NẮP HỘP GIẢM TỐC

Mã đồ án CKMDG2025031
Đánh giá: 5.0
Mô tả đồ án

     Bài tập lớn có dung lượng 75MB. Bao gồm đầy đủ các file như: File bản vẽ cad 2D (Bản vẽ lắp đồ gá tiện, bản vẽ phân rã đồ gá tiện…); file word (Bản thuyết minh, nhiệm vụ đề tài, bìa thuyết minh…). Ngoài ra còn cung cấp rất nhiều các tài liệu chuyên ngành, các tài liệu phục vụ cho thiết kế bài tập lớn, thư viện dao gia công và chi tiết đồ gá tiêu chuẩn........... THIẾT KẾ ĐỒ GÁ GIA CÔNG LỖ 45, 52, 60 TRÊN NẮP HỘP GIẢM TỐC.

Giá: 390,000 VND
Nội dung tóm tắt

MỤC LỤC

MỤC LỤC....................................................................................................................................................................1

DANH MỤC HÌNH VẼ.................................................................................................................................................2

DANH MỤC BẢNG BIỂU............................................................................................................................................3

DANH MỤC KÝ TỰ VIẾT TẮT....................................................................................................................................4

LỜI NÓI ĐẦU..............................................................................................................................................................5

PHẦN I: PHÂN TÍCH YÊU CẦU KỸ THUẬT CỦA NGUYÊN CÔNG VÀ TRÌNH TỰ THIẾT KẾ ĐỒ GÁ...................6

1.1. Phân tích yêu cầu kỹ thuật của nguyên công.......................................................................................................6

1.2. Trình tự thiết kế đồ gá...........................................................................................................................................6

PHẦN II. PHÂN TÍCH SƠ ĐỒ GÁ ĐẶT NGUYÊN CÔNG......................................................................................... 8

2.1. Phương án I..........................................................................................................................................................8

2.2. Phương án II.......................................................................................................................................................10

PHẦN III: TÍNH TOÁN THIẾT KẾ VÀ LỰA CHỌN CÁC CƠ CẤU CỦA ĐỒ GÁ .....................................................11

3.1. Lựa chọn cơ cấu định vị......................................................................................................................................11

3.2. Tính toán và lựa chọn cơ cấu kẹp chặt..............................................................................................................12

3.2.1. Sơ đồ phân tích lực.........................................................................................................................................12

3.2.2. Tính lực kẹp.....................................................................................................................................................13

3.2.3. Lựa chọn và xác định cơ cấu kẹp....................................................................................................................17

3.3. Xác định các cơ cấu khác của đồ gá..................................................................................................................19

PHẦN IV: TÍNH TOÁN SAI SỐ CHẾ TẠO CHO PHÉP VÀ ĐỀ RA CÁC YÊU CẦU KỸ THUẬT CỦA ĐỒ GÁ........21

4.1. Tính sai số chế tạo cho phép..............................................................................................................................21

4.2. Yêu cầu kỹ thuật của đồ gá.................................................................................................................................22

DANH MỤC TÀI LIỆU THAM KHẢO.........................................................................................................................24

LỜI NÓI ĐẦU

Trong lĩnh vực cơ khí nói chung và mảng công nghệ chế tạo máy nói riêng thì đồ gá là một thiết bị vô cùng quan trọng. Đồ gá là thiết bị được dùng để gá đặt chi tiết gia công trên máy gia công, đảm bảo độ chính xác của các kích thước cần gia công, nâng cao năng suất gia công. Đối với sinh viên ngành cơ khí chế tạo máy, học phần “ Đồ gá “ là một học phần chuyên ngành quan trọng, giúp cho sinh viên có cái nhìn cơ bản nhất về đồ gá.

Với sự hướng dẫn nhiệt tình của thầy : TS…………….. em đã hoàn thành bài tập lớn môn học này với đề tài “Thiết kế đồ gá gia công lỗ 45, 52, 60 trên nắp hộp giảm tốc”. Tuy nhiên với kiến thức còn hạn chế nên không tránh khỏi những sai sót. Rất mong nhận được sự đóng góp ý kiến của quý thầy cô.

 Em xin chân thành cảm ơn!

                                                                                                                                                                  Hà Nội, ngày … tháng … năm 20…

                                                                                                                                                                  Sinh viên thực hiện

                                                                                                                                                                   …………………

PHẦN I: PHÂN TÍCH YÊU CẦU KỸ THUẬT CỦA NGUYÊN CÔNG VÀ TRÌNH TỰ THIẾT KẾ ĐỒ GÁ

1.1. Phân tích yêu cầu kỹ thuật của nguyên công

- Yêu cầu : Tiện lỗ ∅45, ∅52, ∅60

- Yêu cầu kĩ thuật :

+ Chi tiết gia công có đường bao gia công đạt độ nhám Rz=20.

+ Lỗ ∅45 gia công đạt độ nhám là 0.63

+ Lỗ ∅52 được gia công có dung sai : ∅52±0.03mm.

+ Độ không vuông góc giữa đường tâm trục lỗ ∅52 với mặt phẳng A là 0.05

1.2. Trình tự thiết kế đồ gá

- Bước 1: Nghiên cứu sơ đồ gá đặt phôi và các yêu cầu kĩ thuật của nguyên công, xác định bề mặt chuẩn, chất lượng bề mặt cần gia công, độ chính xác về kích thước hình dạng, số lượng chi tiêt gia công và vị trí của cơ cấu định vị và kẹp chặt trên đồ gá.

- Bước 2: Xác định lực cắt và momen cắt, phương chiều và điểm đặt lực kẹp và các lực cùng tác động vào chi tiết như trọng lực của chi tiết G, phản lực tại các điểm N, lực ma sát Fms … 

- Bước 5: Xác định sai số chế tạo cho phép [𝜀𝑐𝑡] của đồ gá theo yêu cầu kĩ thuật của từng nguyên công.

- Bước 6: Ghi kích thước giới hạn của đồ gá (chiều dài, chiều rộng, chiều cao) đánh số các vị trí của chi tiết trên đồ gá.

PHẦN II: PHÂN TÍCH SƠ ĐỒ GÁ ĐẶT NGUYÊN CÔNG

2.1. Phương án I

* Sơ đồ gá đặt:

Sơ đồ gá đặt theo phương án I như hình 2.1.

* Phân tích định vị:

Theo nguyên tắc định vị thì chi tiết được hạn chế 5 bậc tự do:

Sự dụng mặt phẳng vào bề mặt trên của nắp hạn chế 3 bậc tự do:

+ Tịnh tiến theo Oz

+ Chống xoay quanh Ox

+ Chống xoay quanh Oy

Sử dụng 2 khối V di động vào bề mặt đường kính ngoài cùng của chi tiết hạn chế được 2 bậc tự do.

* Phân tích kẹp chặt:

Để đảm bảo độ cứng vững của chi tiết ta chọn lực kẹp như sau :

+ Phương của lực kẹp hướng theo trục Oz.

+ Chiều của lực kẹp hướng vào đường kính ngoài của chi tiết.

2.2. Phương án II

* Sơ đồ gá đặt:

Sơ đồ gá đặt theo phương án II như hình 2.2.

* Phân tích định vị:

- Theo nguyên tắc định vị thì chi tiết được hạn chế 5 bậc tự do:

Sử dụng mặt phẳng vào bề mặt sau của nắp hạn chế được 3 bậc tự do:

+ Tịnh tiến theo Oz

+ Chống xoay quanh Ox

+ Chống xoay quanh Oy

- Sử dụng 2 khối V di động vào bề mặt đường kính ngoài cùng của chi tiết hạn chế được 2 bậc tự do.

* Phân tích kẹp chặt:

- Để đảm bạo độ cứng vững của chi tiết :

+ Phương lực kẹp hướng theo phương Oz.

+ Chiều lực kẹp hướng từ ngoài vào đướng kính lớn nhất của chi tiết.

 Kết luận: Khi so sánh 2 phương án trên cùng một tiêu chí là chi phí thấp, sai số kẹp chặt và kẹp chặt cần thiết thì ta thấy rõ phương án I là đáp ứng và tối ưu nhất. Do đó ta sẽ chọn phương án I là phương án để thiết kế đồ gá.

PHẦN III: TÍNH TOÁN THIẾT KẾ VÀ LỰA CHỌN CÁC CƠ CẤU CỦA ĐỒ GÁ

3.1. Lựa chọn cơ cấu định vị:

- Ta lựa chọn khối 2V di động :

+ Vật liệu: Thép 20X.

+ Tôi sau khi thấm than để đạt được độ cứng từ 50-60 HRC

3.2. Tính toán và lựa chọn cơ cấu kẹp chặt

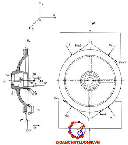
3.2.1. Sơ đồ phân tích lực:

Các ngoại lực tác dụng lên chi tiết bao gồm:

- Lực dọc trục Px có phương song song với Ox, có tác dụng ấn chi tiết vào mặt phẳng.

- Lực tiếp tuyến Py có phương song song với Oy cùng chiều với chiều quay của trục chính. Nếu lực kẹp không đủ lớn thì chi tiết sẽ bị quay quanh Ox.

- Lực hướng kính Pz có phương song song với trục Oz chiều của lực Pz thay đổi theo chu kì quay của tốc độ trục chính, lực kẹp cần thiết lớn nhất khi lực Pz song song và ngược chiều với lực kẹp W, nếu lực kẹp không đủ lớn sẽ làm cho chi tiết bị tịnh tiến theo Oz.

3.2.2. Tính lực kẹp:

- Để đảm bảo độ chính xác của chi tiết sau khi gia công thì lực kẹp chặt phải đảm bảo các yêu cầu tối thiểu sau:

+ Không phá hỏng vị trí định vị của phôi.

+ Lực kẹp chặt phải đủ để chi tiết không bị xê dịch dưới tác dụng của lực cắt nhưng không được quá lớn so với giá trị cần thiết làm biến dạng phôi.

+ Không làm hỏng bề mặt do lực kẹp tác dụng vào.

+ Kết cấu nhỏ, đơn giản, gọn nhất có thể nhưng bảo đảm an toàn, tháo tác nhanh, ít tốn sức, dễ bảo quản và sửa chữa….

a, Tính vận tốc cắt:

- Chiều sâu cắt: t = 3 (mm)

- Lượng chạy dao: S = 0,5 (mm/v)

- Thay các số liệu vào công thức tính tốc độ cắt ta được : V = (m/ph)

- Tốc độ quay của trục chính:

 Ta chọn tốc độ quay của trục chính khi gia công là n= 500(vg/ph)

-  Vận tốc thực tế: Vtt = 81,64 (m/ph)

b, Lực cắt khi tiện:

=>  Lực cắt khi tiện:

Pz  =  92.31.〖0,5〗0,75.〖64,78〗0.0,75 = 123,08 (N)

Py  = 54.31.0,50,75.64,780.0,6 = 57,8 (N)

c, Lực kẹp:

- Trường hợp 1: Lực kẹp đảm bảo cho chi tiết không bị tịnh tiến theo phương Ox:

Các lực hoạt động ngoại lực , lực ma sát: , .

Hệ số ma sát giữa khối V và chi tiết là: Chọn f= 0,3

Lực N từ khối V1 tác dụng lên chi tiết là:

N = W.sin

Vậy lực ma sát tác dụng lên chi tiết:

Fms1= W.sin60.f = 0,26.W (1)

Lực N từ khối V2 tác dụng lên chi tiết là

N = W. sin

Vậy lực ma sát Fms2 tác dụng lên chi tiết có độ lớn là:

Fms2= W.sin60.f = 0,26.W (2)

=> W = 341,92(N)

- Trường hợp 2: Lực kẹp đảm bảo chi tiết không bị xoay quanh Ox:

Các lực hoạt động: Lực pháp tuyến P , lực ma sát Fms1, lực pháp tuyến từ khối V ngắn Fms2.

Xét chi tiết cân bằng, tổng momen tại trục chính bằng 0 ta có phương trình:

Fms2.127+ Fms1.130 – Py.45 = 0 (3)

Thay (1)(2) vào (3) ta có:

66,82.W – 57,8.45 = 0

=>  W = 38,93 (N)

Dựa vào các trường hợp trên ta thấy lực kẹp lớn nhất là W = 341,92 N .

Lựa chọn lực kẹp cần thiết:

Ta có:

K = K0.K1.K2.K3.K4. K5.K6

=> K= 2,808

Vậy W = 2,808. 341,92 = 960,11 (N)

3.2.3. Lựa chọn và xác định cơ cấu kẹp:

Ta lựa chọn cơ cấu kẹp chặt bằng ren vít và hai khối V di dộng:

[σ]k: ứng suất kéo nằm trong khoảng 6-20KG/cm2 chọn bằng 6KG/cm2 Đường kính ngoài của ren vít: D = 23,4 mm

Vậy chọn tiêu chuẩn bu lông M24 để kẹp chặt chi tiết như hình 3.1.

3.3. Xác định các cơ cấu khác của đồ gá:

* Mâm trung gian:

Vật liệu làm mâm trung gian: Gang cầu.

Độ cứng sau tôi cần đạt được độ cứng gần 200HB.

* Trục định tâm:

Vật liệu làm trục định tâm: Thép C45

Sử dụng phương pháp nhiệt luyện như tôi, ram để làm tăng độ cứng của Thép C45 có thể đạt được 57-59HRC

PHẦN IV: TÍNH TOÁN SAI SỐ CHẾ TẠO CHO PHÉP VÀ ĐỀ RA CÁC YÊU CẦU KỸ THUẬT CỦA ĐỒ GÁ

4.1. Tính sai số chế tạo cho phép

- Sai số của đồ gá ảnh hưởng đến sai số của kích thước gia công nhưng phần lớn nó ảnh hưởng đến sai số vị trí tương quan giữa bề mặt gia công và bề mặt chuẩn.

* Sai số gá đặt εgd chọn trước là sai số gá đặt cho phép:

=> 𝜀𝑔𝑑=15÷13𝛿=13∙0,2=0,067 𝑚𝑚

*  Sai số kẹp:

εk: sai số do kẹp chặt phôi. Trong trường hợp này ta chọn ε_k=0,014mm (bảng 3.12[3]).

* Sai số dụng cụ:

Sai số dụng cụ chọn ε_dc = 0,01mm

Vậy ta có: [εct ]=√(0,0672-(0.0142+02+0,01792 + 0,012 = 0,062 m

4.2. Yêu cầu kỹ thuật của đồ gá

Từ kết quả giá trị sai số chế tạo cho phép của đồ gá 𝜀𝑐𝑡 = 0,062 (𝑚𝑚) ta có những yêu cầu kĩ thuật của đồ gá như sau:

- Độ không song song giữa tâm khối V và chi tiết ≤ 0,062𝑚𝑚.

- Độ không vuông góc giữa mặt của chốt tỳ và chi tiết ≤ 0,062 𝑚𝑚.

DANH MỤC TÀI LIỆU THAM KHẢO

1. Sổ tay công nghệ chế tạo máy - Tập 2- GS.TS. Nguyễn Đắc Lộc, PGS.TS. Lê Văn Tiến, PGS.TS. Ninh Đức Tốn, PGS.TS. Trần Xuân Viêt.

2. Sổ tay Atlas đồ gá- GS.TS. Trần Văn Địch.

3. Hướng dẫn thiết kế đồ án công nghệ chế tạo máy - GS. TS. Trần Văn Địch.

4. Giáo trình đồ gá - Đại học Công nghiệp Hà Nội.

5. Hướng dẫn thiết kế đồ án công nghệ chế tạo máy - Đại học Công nghiệp Hà Nội

"TẢI VỀ ĐỂ XEM ĐẦY ĐỦ BÀI TẬP LỚN"