THIẾT KẾ ĐỒ GÁ GIA CÔNG TIỆN LỖ BẠC LÓT

Mã đồ án CKMDG2025032
Đánh giá: 5.0
Mô tả đồ án

     Bài tập lớn có dung lượng 75MB. Bao gồm đầy đủ các file như: File bản vẽ cad 2D (Bản vẽ lắp đồ gá tiện, bản vẽ phân rã đồ gá tiện…); file word (Bản thuyết minh, nhiệm vụ đề tài, bìa thuyết minh…). Ngoài ra còn cung cấp rất nhiều các tài liệu chuyên ngành, các tài liệu phục vụ cho thiết kế bài tập lớn, thư viện dao gia công và chi tiết đồ gá tiêu chuẩn........... THIẾT KẾ ĐỒ GÁ GIA CÔNG TIỆN LỖ BẠC LÓT.

Giá: 390,000 VND
Nội dung tóm tắt

MỤC LỤC

DANH MỤC HÌNH VẼ……………………………………….................................................................……….……..3

LỜI NÓI ĐẦU………………………………………………………………...................................................................4

Phần I: PHÂN TÍCH YÊU CẦU KỸ THUẬT CỦA NGUYÊN CÔNG VÀ TRÌNH TỰ THIẾT KẾ ĐỒ GÁ….………5

1.1. Phân tích yêu cầu kỹ thuật của nguyên công..................................................................................................5

1.2. Trình tự thiết kế đồ gá......................................................................................................................................5

Phần II. PHÂN TÍCH SƠ ĐỒ GÁ ĐẶT NGUYÊN CÔNG…………..............................................................………6

2.1. Phương án I.....................................................................................................................................................6

2.2. Phương án II....................................................................................................................................................8

Phần III. TÍNH TOÁN THIẾT KẾ VÀ LỰA CHỌN CÁC CƠ CẤU CỦA ĐỒ GÁ………………………........………10

3.1. Chọn máy gia công và dụng cụ cắt................................................................................................................10

3.1.1. Chọn máy gia công......................................................................................................................................10

3.1.2. Chọn dao.....................................................................................................................................................10

3.1.3. Chọn chế độ cắt..........................................................................................................................................10

3.2. Lựa chọn cơ cấu định vị.................................................................................................................................11

3.3. Tính toán và lựa chọn cơ cấu kẹp chặt..........................................................................................................13

3.3.1. Sơ đồ phân tích lực.....................................................................................................................................13

3.3.2. Tính lực gia công và lực kẹp.......................................................................................................................15

3.3.3. Lựa chọn và xác định cơ cấu kẹp chặt........................................................................................................17

3.4. Xác định các cơ cấu khác của đồ gá..............................................................................................................20

Phần IV. TÍNH TOÁN SAI SỐ CHẾ TẠO CHO PHÉP VÀ ĐỀ RA CÁC YÊU CẦU KỸ THUẬT CỦA ĐỒ GÁ…..23

4.1. Tính sai số chế tạo cho phép.........................................................................................................................23

4.2. Yêu cầu kỹ thuật của đồ gá............................................................................................................................25

TÀI LIỆU THAM KHẢO…………………………………………….................................................................….…..26

LỜI NÓI ĐẦU

Trong lĩnh vực cơ khí nói chung và mảng công nghệ chế tạo máy nói riêng thì đồ gá là thiết bị vô cùng quan trọng. Đồ gá là chi tiết dùng để gá đặt chi tiết khác trên máy gia công, đảm bảo độ chính xác của chi tiết cần gia công, nâng cao năng suất gia công. Đối với sinh viên ngành cơ khí chế tạo máy, học phần “Đồ gá” là một học phần chuyên ngành quan trọng giúp cho sinh viên có cái nhìn cơ bản nhất về đồ gá. Học phần đồ gá là cơ sở cho sinh viên học các học phần sau.

Với sự hướng dẫn nhiệt tình của thầy : TS.……………, em đã hoàn thành bài tập lớn môn học này với đề tài “Thiết kế đồ gá gia công tiện lỗ Bạc lót”. Tuy nhiên với kiến thức còn hạn chế nên em không tránh khỏi những sai sót. Rất mong được sự đóng góp của quý thầy cô để em có thể trau dồi thêm kiến thức và nâng cao kỹ năng của mình.

Em xin chân thành cảm ơn!

                                                                                                                                                           Hà Nội, ngày … tháng … năm 20…

                                                                                                                                                              Sinh viên thực hiện

                                                                                                                                                           ………………..

Phần I: PHÂN TÍCH YÊU CẦU KỸ THUẬT CỦA NGUYÊN CÔNG VÀ TRÌNH TỰ THIẾT KẾ ĐỒ GÁ

1.1. Phân tích yêu cầu kỹ thuật của nguyên công

- Dung sai độ không đồng tâm giữa 2 lỗ 90 và 80 là 0.15 mm

- Dung sai độ không vuông góc giữa bề mặt lỗ gia công với bề mặt đáy chi tiết không vượt quá 0,05 mm.

- Các lỗ đạt kích thước và không vượt quá dung sai cho phép

1.2. Trình tự thiết kế đồ gá

- Bước 1: Nghiên cứu sơ đồ gá đặt phôi và các yêu cầu kỹ thuật của nguyên công

- Bước 2: Xác định các lực tác dụng lên chi tiết

- Bước 3: Xác định kết cấu cơ cấu định vị, cơ cấu kẹp chặt, cơ cấu đảm bảo độ chính xác, thân đồ gá.

- Bước 6: Ghi các kích thước giới hạn của đồ gá, đánh số chi tiết và hoàn thiện bản vẽ.

Phần II. PHÂN TÍCH SƠ ĐỒ GÁ ĐẶT NGUYÊN CÔNG

2.1. Phương án I

- Sử dụng phiến tỳ và chốt trụ ngắn để định vị chi tiết gia công

- Sử dụng mỏ kẹp để kẹp chặt chi tiết trong quá trình gia công

* Phân tích định vị:

- Theo nguyên tắc định vị thì chi tiết sẽ được hạn chế tối đa 5 bậc tự do:

+ Sử dụng phiến tỳ vào mặt đầu của lỗ 90 hạn chế 3 bậc tự do

Chống tịnh tiến theo Ox

Chống xoay theo Oz

+ Sử dụng chốt trụ ngắn vào mặt trụ trong của chi tiết hạn chế 2 bậc tự do

Chống tịnh tiến theo Oz

Chống tịnh tiến theo Oy

* Phân tích kẹp chặt:

- Để đảm bảo độ cứng vững cho chi tiết, ta lựa chọn lực kẹp như sau:

Phương của lực kẹp theo trục Ox

Chiều của lực kẹp hướng vào chi tiết

Sơ đồ gá đặt theo phương án I thể hiện như hình 1.

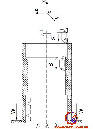
2.2. Phương án II

Sử dụng trục gá đàn hồi để định vị chi tiết và kẹp chặt chi tiết trong quá trình gia công

* Phân tích định vị:

- Theo nguyên tắc định vị thì chi tiết được hạn chế tối đa 5 bậc tự do:

+ Sử dụng mặt gờ của thân trục gá vào mặt đầu của chi tiết hạn chế 1 bậc tự do:

Chống tịnh tiến theo Ox

+ Sử dụng trục gá đàn hồi vào bề mặt lỗ 90 hạn chế 4 bậc tự do:

Chống tịnh tiến theo Oz

Chống quay quanh Oz

* Phân tích kẹp chặt:

- Để đảm bảo độ cứng vững của chi tiết, ta lựa chọn lực kẹp như sau:

Phương của lực kẹp hướng theo trục Oz

Chiều của lực kẹp ngược chiều trục Oz, hướng vào thành của lỗ chi tiết

Sơ đồ gá đặt theo phương án II thể hiện như hình 2.

Kết luận: Chọn phương án gá đặt chi tiết là phương án I vì phù hợp với phương pháp gia công lỗ, gá lắp dễ dàng và thời gian gá lắp nhanh

Phần III. TÍNH TOÁN THIẾT KẾ VÀ LỰA CHỌN CÁC CƠ CẤU CỦA ĐỒ GÁ

3.1. Chọn máy gia công và dụng cụ cắt

3.1.1. Chọn máy gia công

Căn cứ vào hình dạng và kích thước của chi tiết gia công. Chọn máy gia công là: Máy tiện 1K62

3.1.2. Chọn dao

Chọn dao: Dao tiện trong, vật liệu thép gió P18

3.1.3. Chọn chế độ cắt

- Chiều sâu cắt: t = 2 mm

- Lượng chạy dao: S = 1 mm/vg

- Tốc độ quay của trục chính là:

Thay số ta được: n = 485 (vg/ph)

Ta chọn tốc độ quay của trục chính khi gia công là: n = 500 (vg/ph)

3.2. Lựa chọn cơ cấu định vị

- Dựa vào hình dạng và kích thước của chi tiết cần gia công và sự thuận tiện trong quá trình gá đặt để gia công chi tiết đó.

=> Ta chọn phiến tỳ kết hợp chốt trụ ngắn làm cơ cấu định vị cho chi tiết trong nguyên công này.

3.3. Tính toán và lựa chọn cơ cấu kẹp chặt

3.3.1. Sơ đồ phân tích lực

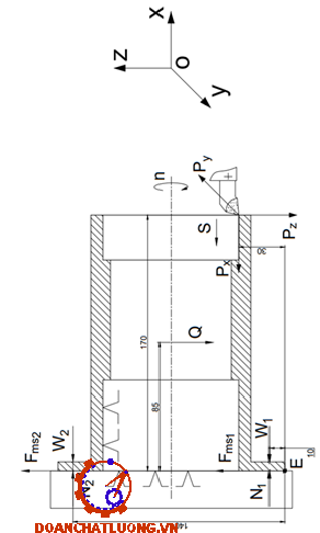
- Dễ thấy các lực tác dụng lên chi tiết tại vị trí lỗ ϕ90 trong quá trình gia công là lớn nhất, nên ta phân tích các lực tác dụng lên chi tiết tại vị trí này.

- Các ngoại lực tác dụng lên chi tiết bao gồm:

+ Lực dọc trục Px của dao có phương song song với Ox chiều hướng vào mặt của phiến tỳ, có tác dụng ấn chặt chi tiết vào mặt phiến tì, không phá vỡ định vị trong quá trình gia công

+ Lực hướng kính Pz có phương song song với trục Oz chiều của lực Pz thay đổi theo chu kì quay của tốc độ trục chính, lực kẹp cần thiết lớn nhất khi lực Pz song song và ngược chiều với lực kẹp W, nếu lực kẹp không đủ, chi tiết sẽ bị tịnh tiến theo Oz

+ Các lực ma sát Fms sinh ra khi có sự tiếp xúc giữa chi tiết và phiến tỳ, có phương vuông góc với phản lực N và chiều như hình vẽ

+ Trọng lực Q sinh ra do chính trọng lượng của chi tiết, có phương thẳng đứng, chiều hướng xuống như hình vẽ.

Sơ đồ phân tích lực tác dụng khi gia công như hình 4.

3.3.2. Tính lực gia công và lực kẹp

a. Lực cắt khi tiện:

=> Lực cắt khi tiện là:

Px = 303,3 N

Py = 111,4 N

Pz = 111,77 N

b. Lực kẹp

* Trường hợp 1: Lực kẹp đảm bảo cho chi tiết không bị tịnh tiến theo phương Ox

- Các lực tác dụng: Lực dọc trục Px và Phản lực N1, N2

- Để đơn giản hóa kết cấu đồ gá, ta giả sử: W1 = W2 = W

- Ta có: N1 = W1 = N2 = W2 = W

- Để chi tiết không bị tịnh tiến theo phương Ox thì lực kẹp  lực gia công,

Ta có phương trình cân bằng lực:

N1 + N2 = Px

<=> 2W = Px = 111,77 N

=> W = 55,9 N

* Trường hợp 2: Lực kẹp đảm bảo cho chi tiết không bị tịnh tiến theo phương Oz

- Các lực tác dụng: Lực hướng kính Pz; trọng lực Q, Lực ma sát: Fms1; Fms2

 - Hệ số ma sát giữa phiến tỳ và chi tiết là: f = 0,15

+ Lực ma sát Fms1 tác dụng lên chi tiết là:

Fms1 = N1.f = W.f = 0,15.W  (N)

- Để chi tiết không bị tịnh tiến theo Oz thì lực kẹp  lực gia công

+ Ta có phương trình cân bằng lực:

Fms1 + Fms2  = Pz + G.9,8

<=> 2.0,15.W = 303,3 + 3,5.9,8

=> W = 1125,3 N

* Trường hợp 3: Lực kẹp đảm bảo cho chi tiết không bị quay quanh Oy

- Các lực tác dụng: Lực hướng kính Pz, trọng lực Q, lực dọc trục Px, lực kẹp W1 và W2.

- Xét chi tiết cân bằng tại điểm E, tổng mômen tại E bằng 0 ta có phương trình:

140.W2 + 10.W1 + 30.Px - 85.Q - 170.Pz = 0

=> W = 340,82 N

=> Dựa vào 3 trường hợp:

Ta thấy lực kẹp lớn nhất để kẹp chi tiết là: W = 1125,3 N

- Lực kẹp cần thiết để kẹp chi tiết là:

W0 = W.K

Theo công thức 36 [5] :

K = K0. K1. K2. K3. K4. K5. K6

=> K = 1,5.1.1.1,3.1,3.1.1,5 = 3,8

Vậy W0 = 1125,3 . 3,8 = 4276,14 N = 427,6 kG

3.3.3. Lựa chọn và xác định cơ cấu kẹp chặt

- Dựa vào kích thước chi tiết và vị trí gia công của chi tiết. Ta sử dụng cơ cấu kẹp chặt bằng mỏ kẹp.

- Phương trình cân bằng lực đối với điểm tỳ cố định là:

Q.h = W

Trong đó:

Q - lực siết chặt của bulong (N)

η - hệ số giảm lực kẹp do ma sát (η = 0,95)

=> Q = 4501,2 (N) = 450,12 (kG)

* Đường kính bulong mỏ kẹp:

Thay số ta được D= 10,5 mm

=> Chọn bulong mỏ kẹp M12 theo tiêu chuẩn ren hệ Mét.

3.4. Xác định các cơ cấu khác của đồ gá

* Thân đồ gá:

Với số lần gá đặt 15000 chi tiết/năm là gia công chi tiết hàng loạt lớn. Vì vậy ta phải lựa chọn thân đồ gá có độ cứng vững cao. Thân đồ gá nên chọn là đồ gá dạng đúc.

* Nắp an toàn

Để tránh xảy ra tai nạn trong quá trình gia công thì cần sử dụng nắp an toàn để ngăn cách các bulong và đai ốc thừa dài trên thân đồ gá

- Lựa chọn nắp an toàn có kết cấu đơn giản

Phần IV. TÍNH TOÁN SAI SỐ CHẾ TẠO CHO PHÉP VÀ ĐỀ RA CÁC YÊU CẦU KỸ THUẬT CỦA ĐỒ GÁ

4.1. Tính sai số chế tạo cho phép

- Sai số của đồ gá ảnh hưởng đến sai số của kích thước gia công nhưng phần lớn nó ảnh hướng đến sai số vị trí tương quan giữa bề mặt gia công và bề mặt chuẩn.

* Sai số chuẩn:

- Từ sơ đồ như hình vẽ, ta có chuỗi kích thước công nghệ:

Bề mặt gia công M => Chuẩn định vị K => Gốc kích thước O => Bề mặt gia công M

MK – KO – OM = 0

<=> OM = MK – KO

<=> H = C – B

=> εc (H)= |(δD_lỗ)/2| = |0,035/2| = 0,0175 (mm)

* Sai số kẹp chặt:  

εk = C.P0.5

Trong đó:

C - hệ số phụ thuộc vào vật liệu gia công (với thép: C = 0,3)

P - lực kẹp chặt: P = W = 427,6 (kG)

=> εk = 0,3.427,60.5 = 6,2 = 0,0062 mm

* Sai số điều chỉnh của đồ gá:  mm

=> Sai số chế tạo: ect = 0,022 mm

4.2. Yêu cầu kỹ thuật của đồ gá

- Dung sai độ không vuông góc giữa tâm phiến tỳ và bề mặt thân đồ gá không vượt quá 0,034 mm

- Dung sai độ không song song giữa bề mặt phiến tỳ và bề mặt thân đồ gá không vượt quá 0,034 mm.

TÀI LIỆU THAM KHẢO

[1]. GS.TS Nguyễn Đắc Lộc, PGS.TS Lê Văn Tiến, PSG.TS Ninh Đức Tốn, PGS.TS Trần Xuân Việt, Sổ tay công nghệ chế tạo máy 1, Hà Nội: NXBKHKT, 2007.

[2]. GS.TS Nguyễn Đắc Lộc, PGS.TS Lê Văn Tiến, PSG.TS Ninh Đức Tốn, PGS.TS Trần Xuân Việt, Sổ tay công nghệ chế tạo máy 2, Hà Nội: NXBKHKT, 2005.

[3]. GS.TS Nguyễn Đắc Lộc, PGS.TS Lê Văn Tiến, PSG.TS Ninh Đức Tốn, PGS.TS Trần Xuân Việt, Sổ tay công nghệ chế tạo máy 3, Hà Nội: NXBKHKT, 2006.

[4]. PGS.TS Trần Văn Địch, Aslat Đồ Gá, Hà Nội: NXBKHKT, 2000.

"TẢI VỀ ĐỂ XEM ĐẦY ĐỦ BÀI TẬP LỚN"